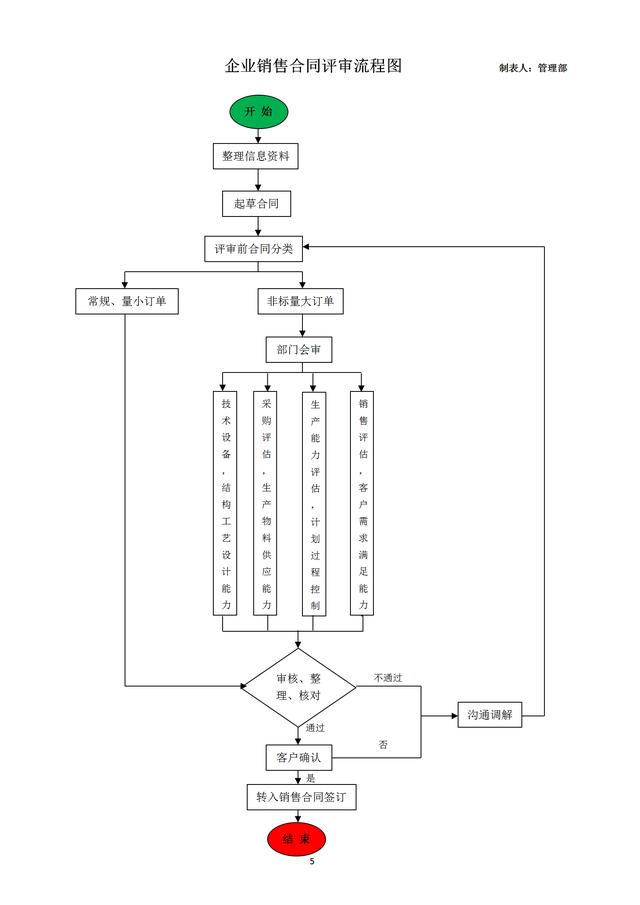
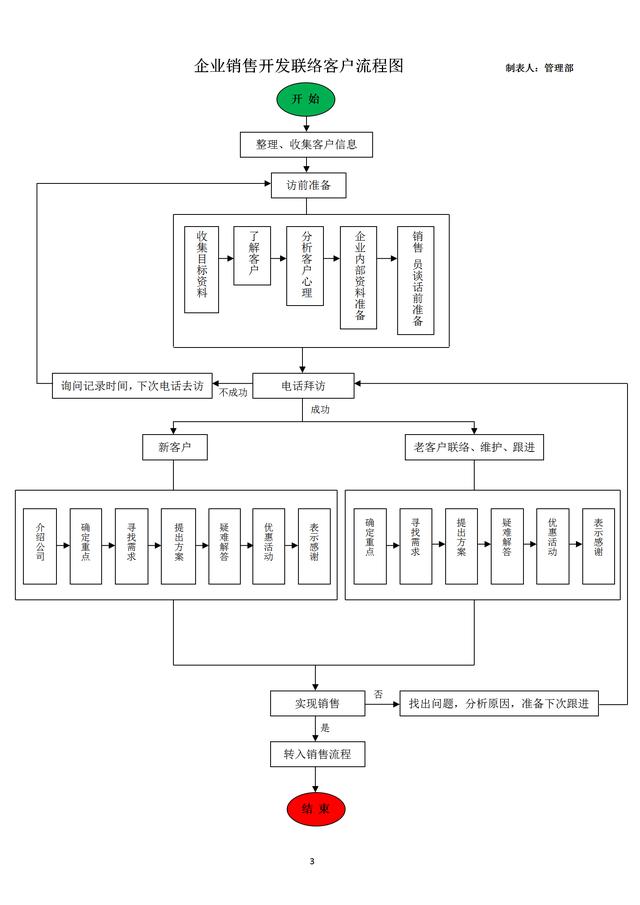
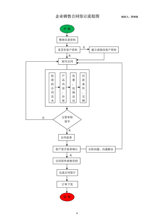
销售管理制度及流程图(一般企业销售部门运营管理流程图(可直接打印上墙,让员工牢记)) 老猫在村里 2026-01-08 14:56:25 290 0 【如需完整电子版内容参考学习】【您可以关注+收藏+转发】【然后私信:0902】 销售管理制度及流程图 << 员工手册需要员工签字吗(员工手册应该包含哪些内容?(实操讲解)) 商业银行贷款业务发展现状(4月央行金融报表解析:信贷需求乏力下的行情与隐忧) >> 您可以还会对下面的文章感兴趣: 暂无相关文章 相关文章 上海文广集团整体上市(多彩新媒背后IPTV运营商IPO切面:独家优势仍需闯过成长掣肘) 华瑞银行客服电话是多少(浦银安盛基金管理有限公司 关于旗下部分基金新增华瑞保险销售 有限公司为代销机构并开通基金 定投业务及参加其费率优惠活动的公告) 做运营(入行半年,我对运营的思考和总结) 全媒体运营师考试内容(未来10年超级吃香的职业,全媒体运营师揭秘,高考生家长必看) 部门奖金分配方案(奖金管理技巧) 新媒体营销方式有几种(7大模块,15个方法,告诉你如何运营新媒体) 营销管理是什么(营销管理为什么那么重要?) 驾驶人与准驾车型不符的机动车一次记几分(机动车管理新规实施,骑电动车驾驶车型与准驾车型不符一次扣九分)