中国质量新闻网讯(李爽)近日,据中国执行信息公开网显示,实地地产集团有限公司新增多条被执行人信息,执行标的分别为515417元(2022)苏0507执1757号、517610元(2022)粤0118执5620号、517610元(2022)粤0118执5617号、1000000元(2022)晋0109执2145号、1000000元(2022)晋0109执2144号。



(以上截图:中国执行信息公开网站)
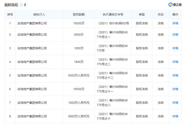
据悉,实地地产集团有限公司成立于2006年01月17日,通过中国执行信息公开网了解到,仅从2022年开始,实地集团成为被执行人竟高达11次。此外,该房企涉及的股权冻结案件在过去的2021年间就有8起,且股权金额均在1000万以上,最高冻结金额10000万元。


(图源:爱企查)







