医院挂号流程图算法(以预约挂号流程为例,聊聊业务流程图)

摘要:从什么是业务流程图、业务流程图的作用、表现形式、如何绘制以及常用的绘制工具等角度,分析了在预约挂号过程中如何绘制业务流程图。



在写项目需求文档的时候,我们会画出各种流程。比如去医院看病,需要先去咨询台拿一张具体就医的挂号单,然后去挂号窗口把账单交给工作人员,缴费成功后再去具体科室看病。每个地方都会有自己的流程,按照流程走可以快速达到目的,减少不必要的麻烦。当然可以另辟蹊径,只要是合理的业务流程,都可以优化业务。

在工作中,我们经常会用到流程图:业务流程图、页面流程图、数据流程图。作为产品,我们经常讲业务流程图;作为一个交互设计师,我更关心页面流程图;作为系统分析师,数据流程图是最关键的。

今天,我们来谈谈业务流程图的绘制:

目录:

  • 什么是业务流程图?
  • 业务流程图的功能
  • 业务流程图有哪些形式?
  • 如何绘制业务流程图?
  • 常用绘图工具
  • 01 什么是业务流程图?

    业务流程图是实现特定目标的一系列逻辑操作过程,可能是不规则的,也可能是充满bug的。

    绘制一个有规律的过程可以将过程可视化,准确详细地描述任务的过程趋势,一般没有数据的概念。

    02 业务流程图的作用

    分析业务流程并绘制业务流程图可以帮助分析师了解业务是如何工作的,并帮助分析师找到业务流程中不合理的流向。

    现有产品的现有业务流程可能不合理。通过业务流程图,可以研究关键事件的流程,分析为什么要这样做,探索更深层次的问题,从而对现有不合理的业务流程进行重组和优化,进而制定优化方案,改进现有流程。

    写需求文档时,产品主要是描述业务规则,借助业务流程图可以让业务逻辑更加清晰。在梳理日常生活中关键事件的业务流程时,绘制业务流程图有助于发现不合理的流程,优化关键事件。

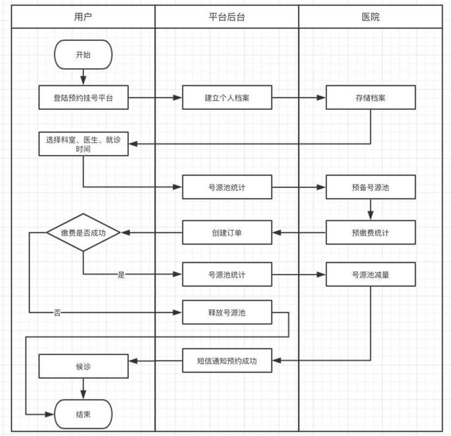
    我们现在说的流程图,其实就是传统的管理业务流程图,包括基本流程图和跨职能流程图(lane chart)。以医院挂号流程为例。

    03 业务流程图的两种表现方式

    1.管理业务流程图

    我们现在说的流程图,其实就是传统的管理业务流程图,包括基本流程图和跨职能流程图(lane chart)。

    基本流程图虽然很清楚的解释了整个流程,但是并不能清楚的说明流程的每一步是由哪个角色负责的。为了有效地显示每个流程由谁负责,可以通过泳道流程图来实现,既反映了整个活动控制流程,又清楚地知道流程中每个角色的职责。

    管理业务流程图的常用符号如下,其基本结构包括:顺序结构、选择(分支)结构、循环结构。





    我们以医院挂号为例:管理业务流程图基本可以满足业务流程趋势的表达,但在复杂的系统交互中,表达并发概念时,传统的管理业务流程图无法表达,需要UML建模。



    2.UML活动图

    UML对各种图进行细分,从不同角度描述系统流程。本质上,UML的各种图都属于流程图。UML中定义了13种图。我们经常使用用例图、活动图和序列图,我们只需要了解其他的。



    UML中的活动图类似于管理业务流程图,可以用来表示业务流程。唯一的区别是活动图支持并行行为。

    传统的流程图侧重于描述加工过程,其主要控制结构是顺序、分支和循环,各加工过程之间有严格的顺序和时间关系。UML活动图描述的是对象活动的顺序关系所遵循的规则,它关注的是系统的行为,而不是系统的处理过程。

    UML活动图的常用符号如下。UML活动图的基本结构除了顺序结构、选择(分支)结构和循环结构外,还可能有并发事件流。在UML中,同步线可以用来说明这些并行控制流的分叉和收敛。



    同步:分支是有一个传入转换和两个或多个传出转换;收敛是两个或多个传入转换和一个传出转换。



    我们以医院挂号为例:



    摘要:管理业务流程图或UML活动图可以用来表达业务流程。选择哪种图来表达业务流程由你自己决定,但要遵循一定的符号结构,不要混搭。然而,要表达并行行为,请使用UML活动图。

    04 如何绘制流程图

    第一步:确定业务范围。

    在绘制流程图之前,确定业务流程的起止点,是截取某一段业务进行详细描述,还是以整个业务模块进行描述。一张图不可能把所有过程都展示出来,不画关键事件也不可能“装太大空”。要学会划分业务流程的范围,把握分支的粒度。

    或者以医院挂号为例——先挂号再看病。整个流程实际上可以细分为两个流程,即挂号流程和就医流程;甚至粒度还可以进一步细化,分为收收据、挂号、交挂号费、排队看病等流程。但是,显然单独分析收取收据和支付注册费的过程的粒度太小,没有实际意义。

    可以采用自上而下,逐层分解的绘制方式。定义您要整理的业务流程的范围。先列出流程中的关键事件,比如医院挂号、挂号流程、就医流程,这些都是整个流程中的关键事件流程。然后根据你分析的目的,判断是否需要分解到下一个层次,比如拿收据、挂号、交挂号费、排队看病的流程。

    比如一层一层的分解,直到符合你分析的目的。当目的是优化一个业务流程时,将其分解成相应的流程,画出流程图后再进行分析。

    第二步:业务梳理和要素分解。

    业务流程图有四个关键要素:执行操作、顺序、输入输出、规则;为了更清楚地描述业务流程,可以有参与者。

    以上是对业务的清晰描述,基本可以按照步骤画出业务流程图。没有清晰的业务描述,主要有两种方法来梳理业务流程:

  • 实地考察,体验业务流程。
  • 现有业务流程的优化。当你熟悉了现有的业务流程后,你可以通过讨论和分析来梳理业务流程,然后通过优化现有流程中不合理的部分,给出一个更好的流程。
  • 第三步:注意图纸规格。

    每个图形的形状/字体大小都是统一的。如果每个图形的形状、大小/字体大小差别很大,对于懂图形的人来说也是一种折磨。对于比较重要的工序,可以用颜色来区分其他普通工序(但颜色的数量和种类不要太多,以免模糊重点),然后在重要工序旁边加上备注就可以把重点传达给对方。

  • 这个过程使用动宾结构,比如输入手机号码。
  • 应该有一个结束的过程。
  • 流程图从左到右,从上到下排列。
  • 尽量不要越界。
  • 05 常见的绘制流程图的工具

    1.在线工具

    处理:https://www.processon.com/

    医院挂号流程

    平局:https://www.draw.io/

    莫:https://www.apowersoft.com.cn/flowchart

    2.客户

    绘图

    埃德罗·易图

    思维导图软件

    omniGraffle(mac)

    StarUML

    一般我用ProcessOn画业务流程图,有些uml图也用StarUML。这两个工具画出来的图还是挺顺眼的。但是用哪种工具并不重要。重要的是学会梳理业务流程,并将其可视化。

    本文由@pms-rolia原创发布。每个人都是产品经理。未经许可,禁止转载。

    图片来自Unsplash,基于CC0协议。

    您可以还会对下面的文章感兴趣

    使用微信扫描二维码后

    点击右上角发送给好友