神州租车官网暂时无法访问。神州租车此前在港交所公告停牌以待刊发澄清公告,截至停牌前,神州租车跌54.42%,成交额约2.73亿港元。
与瑞幸同一大股东的神州租车今日在港股,开盘直线下落,盘中暴跌逾70%。
4月3日11点48分,神州租车在港交所披露易发公告称,公司股票于10点14分起短暂停止买卖,以待刊发一则可能构成公司内幕消息的澄清公告。

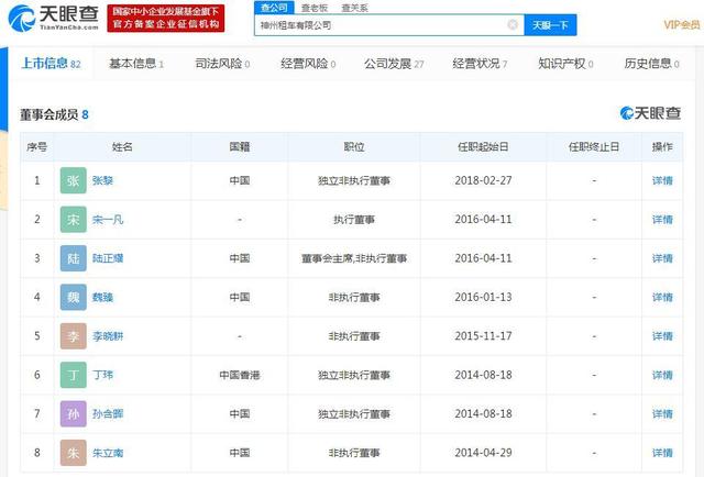
截至去年5月17日,瑞幸第四大股东为陆正耀,持股25.75%。天眼查数据显示,陆正耀同时为神州租车的大股东兼董事会主席。不仅如此,瑞幸和神州租车之间还有更多联系:昨晚被曝财务造假的公司COO兼董事刘剑出身于神州租车。公开资料显示,2008年至2015年,刘剑先后担任神州租车车辆管理中心副主任和收益管理负责人;2015年至2018年担任神州优车收益管理负责人;2018年5月起,担任瑞幸咖啡COO。不止是刘剑,瑞幸整个管理团队多出自神州系。瑞幸创始人钱治亚亦曾担任神州优车COO。

