
苹果造车的消息已经很多年了,这些年里不断有苹果汽车的消息传出,而苹果内部也早就确认了造车的团队,并且一直都在偷偷研发无人驾驶系统和整车的开发。
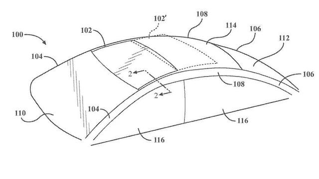
在近日,美国专利局再一次曝光了苹果造车的细节,苹果已经为自己的汽车申请了一个全新的天窗专利并通过了审核,从图片来看,苹果这个天窗专利就是给汽车准备的。


从专利详情来看,苹果汽车天窗采用了目前业界还没有使用的高科技,可以智能调整天窗的透明度,甚至可以在不同天气的情况下自动调整天窗的缝隙以进入自然空气。
能做到这个功能的原因就是苹果汽车天窗由两块特殊玻璃制成,第二块玻璃类似于一个栅格挡板,可以自由控制以调整阳光进入车内,也可以通过 Siri 进行语音调整,智能度非常高。
苹果在新款的 MacBook Pro 上搭载了全新材质的 mini-LED 屏幕,在以往这个屏幕只有在万元级别的 Pro Display XDR 显示器上采用。
而这款屏幕和之前所有的 LCD 或者是 OLED 屏幕都不同,所以苹果在近日还提醒了这部分用户,表示 mini-LED 屏幕的设备不能承受高温,甚至连环境温度过高都不行。

据苹果新的支持文档显示:全新 MacBook Pro 或 Pro Display XDR 显示器右上角的菜单栏中出现了三角形叹号或者显示器叹号,这意味着房间内温度过高,设备的最高亮度将受到限制。
这也是目前唯一一款对温度如此敏感的屏幕,各位使用这款屏幕的设备记得要稍微注意一下。
苹果近年来因为反垄断官司不断,甚至为此还开启了韩国和荷兰地区的第三方支付接口,不过这些都不会对苹果产生较大影响。
而在近日,美国一项新的法案可以说彻底击中了苹果的软肋,这项反垄断法案规定苹果必须要开启侧载功能,允许用户可以在除 App Store 之外下载安装应用。

而在会议之前,苹果美洲政府事务负责人 Tim Powderly 给委员会成员发了一封信,敦促他们否决这项法案。并重申了苹果高管以前多次就侧载的危险提出的隐私和安全论点。
如果 iPhone 设备允许应用侧载,那么一些不良者将会大肆在 iPhone 用户中引导用户下载一些恶意软件或者是诈骗应用,即使是普通的应用,由于没有苹果的管理也可能会侵犯到用户的隐私。
对于苹果而言,如果这项立法确认,iPhone 允许和安卓一样自由安装应用,那么苹果主打的安全性和隐私性将不复存在。








